来源:药智医械
山西宣布开展3大类耗材报量工作,23+19省联盟集采即将正式来袭。
01
开始报量
23+19省联盟
近日,山西省药械集中竞价采购网发布《关于开展通用介入类、神经外科类和血液透析类医用耗材接续约定采购量填报工作的通知》(以下简称:《通知》),填报时间截至今日下午17时。(文末点击阅读原文了解详情)

图片来源:山西省药械集中竞价采购网
本次3大类耗材接续采购均为河南省牵头开展,集采规模较为庞大。据了解,通用介入类耗材共覆盖我国19省(区、兵团),而神外类耗材和血透类耗材则均覆盖我国23省(区、兵团),各类耗材参与地区均不相同,具体如下。
通用介入类耗材联盟:河南、山西、内蒙古、辽宁、吉林、黑龙江、安徽、江西、湖南、广东、海南、贵州、云南、青海、广西、西藏、陕西、甘肃和宁夏。
神经外科类耗材联盟:河南、山西、辽宁、吉林、黑龙江、安徽、江西、湖南、广东、广西、海南、贵州、云南、西藏、青海、宁夏、新疆、新疆生产建设兵团、福建、湖北、甘肃、陕西、内蒙古。
血液透析类耗材联盟:河南、山西、内蒙古、辽宁、吉林、黑龙江、安徽、福建、江西、山东、湖南、广东、广西、海南、贵州、云南、西藏、陕西、甘肃、青海、宁夏、新疆和新疆兵团。
本次采购的品种为通用介入类、神经外科类和血液透析类耗材,具体包括25类细分耗材。
表1 通用介入类、神经外科类集采耗材



资料来源:河南省医疗保障局
表2 血液透析类集采耗材

资料来源:河南省医疗保障局
目前,内蒙古与山西均已正式发布3大类耗材报量文件,收集未来一年内各医疗机构所需的通用介入类、神经外科类和血液透析类医用耗材的数量,山西的报量信息填报截止时间为今日下午17时。
02
市场扩增
外资主导格局有望改变
本次集采的3大类耗材——通用介入类、神经外科类和血液透析类,在技术含量、市场集中度和国产化率等方面存在差异。
具体来看,通用介入类耗材是医疗器械领域内十分庞大的一类市场,其细分产品种类繁多。近年来,随着医疗水平提升、介入治疗普及等多重因素的影响下,通用介入类耗材的需求量得到持续高速增长。并且,在集采不断深化下,多类耗材降价明显。
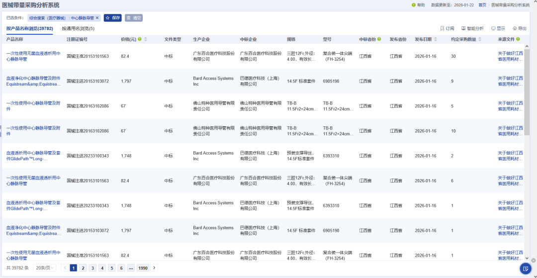
以本次集采覆盖的一类耗材——中心静脉导管为例,药智医械数据目前已收录该类耗材39782条采购信息,采购数量已达到84.96万。采购数量中,国产占比达到75.71%,进口占比仅24.29%。

图片来源:药智医械数据
集采加速下,多个细分品种价格得到大幅释放,多数品种价格已不足千元。(此处仅展示目前均价最高的10类品种价格,如想查询更多品种均价,请前往药智医械数据库查询,或公众号后台私信,领取试用资格。)

图片来源:药智医械数据
而神经外科类耗材的技术门槛较高,因此长期由美敦力、史赛克等国际品牌主导。这类产品对精度和安全性要求极高,国产替代进程相对较慢。目前神外耗材领域内,仅脑膜材料领域国产化率达到90%,已完成国产替代。随着大规模联盟集采推进,市场格局也将面临重新洗牌。
此外,血液透析类耗材市场也在随着肾病患者人数增加而快速增长。据公开数据显示,截至2022年底,我国接受血液透析治疗的患者已达84.43万人,近十年年均复合增长率达到13%。预计到2026年,中国血透耗材市场规模将接近300亿元。
但值得注意的是,当前血透领域内,高端市场仍由费森尤斯、尼普洛、贝朗等进口品牌主导,但国产企业如威高、山外山等正在迎头赶上。
本土械企加速崛起的同时,血透类耗材集采也被多省提及。除本次集采以外,京津冀3+N联盟也在2024年官宣开启血透耗材带量联动采购,覆盖面进一步扩大,血透市场长期由外资品牌主导的格局也将有望改变。
03
结 语
随着集采范围扩大和规则完善,医用耗材市场将更加规范透明。产品质量、临床价值和创新能力将成为企业立足市场的根本。